产品中心
- 安全带
- 卸扣
- 搬运车
- 液压搬运车
- 液压堆高车
- 油桶搬运车
- 电子秤搬运车
- 液压平台车
- 索具
- G80级索具
- G100级索具
- 轻型索具
- 不锈钢索具
- 其他产品
- 手拉葫芦系列
- HSZ-619A手拉葫芦
- 单轨跑车
- 低净空手拉葫芦
- 防腐蚀手拉葫芦
- HSZ手拉葫芦
- 不锈钢手拉葫芦
- HSZ-622A手拉葫芦
- K-II手拉葫芦
- 舞台手拉葫芦
- 大吨位手拉葫芦
- 防爆手拉葫芦
- 电动葫芦系列
- 环链电动葫芦
- 钢丝绳电动葫芦
- 防爆电动葫芦
- 洁净室环链电动葫芦
- 起重机系列
- 电动单梁起重机
- 旋臂式起重机
- 移动式龙门吊
- 手扳葫芦系列
- 链条手扳葫芦
- 钢丝绳手扳葫芦
- 吊装带系列
- 扁平吊装带
- 柔性吊装带
- 千斤顶系列
- 液压千斤顶
- 螺旋千斤顶
座机:88888888
手机:88888888093
联系人:朱先生
企业66666666
邮箱:88888888
网址:https://
地址:
- 产品名称:
欧式低净空钢丝绳电动葫芦
- 产品型号:
欧式低净空钢丝绳电动葫芦
PRODUCT DETAILS
产品详情
-
重庆db真人旗舰集团TOHO低净空电动葫芦主要适用:
1. 可选用进口电机,工作级别高,可达M5,噪音低。
2. 适用于工厂、货场、码头、电厂、建筑工地等场所。
3. 特别适合厂房或使用场地的净空高度受到限制,可用来最大限度提高有效起升高度。

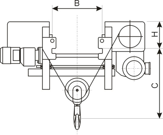
起重量
(kg)起升高度
m起升速度
(m/min)起升功率
KW行走速度 m/min
行走功率
(kw)工作级别
FEM/ISO行走工作
级别
FEM/ISOH
(mm)C
(mm)适用轨宽(mm)
重量
kg2000
6
5/0.8
3.2/0.45
5/20
0.37
3M M6
2M M5
210
556
150-300
341
9
5/0.8
3.2/0.45
5/20
0.37
3M M6
2M M5
210
556
150-300
360
12
5/0.8
3.2/0.45
5/20
0.37
3M M6
2M M5
210
556
150-300
380
15
5/0.8
3.2/0.45
5/20
0.37
3M M6
2M M5
210
556
150-300
401
18
5/0.8
3.2/0.45
5/20
0.37
3M M6
2M M5
210
556
150-300
425
3200
6
5/0.8
3.2/0.45
5/20
0.37
2M M5
2M M5
210
556
150-300
346
9
5/0.8
3.2/0.45
5/20
0.37
2M M5
2M M5
210
556
150-300
363
12
5/0.8
3.2/0.45
5/20
0.37
2M M5
2M M5
210
556
150-300
385
15
5/0.8
3.2/0.45
5/20
0.37
2M M5
2M M5
210
556
150-300
406
18
5/0.8
3.2/0.45
5/20
0.37
2M M5
2M M5
210
556
150-300
428
5000
6
5/0.8
6.1/1
5/20
0.37
2M M5
2M M5
260
596
200-350
413
9
5/0.8
6.1/1
5/20
0.37
2M M5
2M M5
260
596
200-350
435
12
5/0.8
6.1/1
5/20
0.37
2M M5
2M M5
260
596
200-350
462
15
5/0.8
6.1/1
5/20
0.37
2M M5
2M M5
260
596
200-350
489
18
5/0.8
6.1/1
5/20
0.37
2M M5
2M M5
260
596
200-350
516
6300
6
5/0.8
6.1/1
5/20
0.37
1Am M4
2M M5
260
596
200-350
413
9
5/0.8
6.1/1
5/20
0.37
1Am M4
2M M5
260
596
200-350
435
12
5/0.8
6.1/1
5/20
0.37
1Am M4
2M M5
260
596
200-350
462
15
5/0.8
6.1/1
5/20
0.37
1Am M4
2M M5
260
596
200-350
489
18
5/0.8
6.1/1
5/20
0.37
1Am M4
2M M5
260
596
200-350
516
8000
6
5/0.8
9.5/1.5
5/20
0.75
3M M6
2M M5
325
750
200-410
814
9
5/0.8
9.5/1.5
5/20
0.75
3M M6
2M M5
325
750
200-410
846
12
5/0.8
9.5/1.5
5/20
0.75
3M M6
2M M5
325
750
200-410
890
15
5/0.8
9.5/1.5
5/20
0.75
3M M6
2M M5
325
750
200-410
934
18
5/0.8
9.5/1.5
5/20
0.75
3M M6
2M M5
325
750
200-410
978
10000
6
5/0.8
9.5/1.5
5/20
0.75
2M M5
2M M5
325
750
200-410
814
9
5/0.8
9.5/1.5
5/20
0.75
2M M5
2M M5
325
750
200-410
846
12
5/0.8
9.5/1.5
5/20
0.75
2M M5
2M M5
325
750
200-410
890
15
5/0.8
9.5/1.5
5/20
0.75
2M M5
2M M5
325
750
200-410
934
18
5/0.8
9.5/1.5
5/20
0.75
2M M5
2M M5
325
750
200-410
978
12500
6
4/0.6
12.5/2
5/20
0.75
1Am M4
2M M5
325
750
200-410
814
9
4/0.6
12.5/2
5/20
0.75
1Am M4
2M M5
325
750
200-410
846
12
4/0.6
12.5/2
5/20
0.75
1Am M4
2M M5
325
750
200-410
890
15
4/0.6
12.5/2
5/20
0.75
1Am M4
2M M5
325
750
200-410
934
18
4/0.6
12.5/2
5/20
0.75
1Am M4
2M M5
325
750
200-410
978
16000
6
4/0.6
16/2.6
5/20
0.75x2
2M M5
2M M5
400
920
300-450
958
9
4/0.6
16/2.6
5/20
0.75x2
2M M5
2M M5
400
920
300-450
1042
12
4/0.6
16/2.6
5/20
0.75x2
2M M5
2M M5
400
920
300-450
1166
15
4/0.6
16/2.6
5/20
0.75x2
2M M5
2M M5
400
920
300-450
1286
18
4/0.6
16/2.6
5/20
0.75x2
2M M5
2M M5
400
920
300-450
1406
20000
6
4/0.6
16/2.6
5/20
0.75x2
1Am M4
2M M5
400
920
300-450
958
9
4/0.6
16/2.6
5/20
0.75x2
1Am M4
2M M5
400
920
300-450
1042
12
4/0.6
16/2.6
5/20
0.75x2
1Am M4
2M M5
400
920
300-450
1166
15
4/0.6
16/2.6
5/20
0.75x2
1Am M4
2M M5
400
920
300-450
1286
18
4/0.6
16/2.6
5/20
0.75x2
1Am M4
2M M5
400
920
300-450
1406
8000
20
8/1.3
16/2.6
5/20
0.75
2M M5
2M M5
325
750
200-410
1019
24
8/1.3
16/2.6
5/20
0.75
2M M5
2M M5
325
750
200-410
1060
28
8/1.3
16/2.6
5/20
0.75
2M M5
2M M5
325
750
200-410
1101
32
8/1.3
16/2.6
5/20
0.75
2M M5
2M M5
325
750
200-410
1142
36
8/1.3
16/2.6
5/20
0.75
2M M5
2M M5
325
750
200-410
1183
10000
20
8/1.3
16/2.6
5/20
0.75
2M M5
2M M5
325
750
200-410
1019
24
8/1.3
16/2.6
5/20
0.75
2M M5
2M M5
325
750
200-410
1060
28
8/1.3
16/2.6
5/20
0.75
2M M5
2M M5
325
750
200-410
1101
32
8/1.3
16/2.6
5/20
0.75
2M M5
2M M5
325
750
200-410
1142
36
8/1.3
16/2.6
5/20
0.75
2M M5
2M M5
325
750
200-410
1183
12500
20
6.3/1
16/2.6
5/20
0.75
1Am M4
2M M5
325
750
200-410
1019
24
6.3/1
16/2.6
5/20
0.75
1Am M4
2M M5
325
750
200-410
1060
28
6.3/1
16/2.6
5/20
0.75
1Am M4
2M M5
325
750
200-410
1101
32
6.3/1
16/2.6
5/20
0.75
1Am M4
2M M5
325
750
200-410
1142
36
6.3/1
16/2.6
5/20
0.75
1Am M4
2M M5
325
750
200-410
1183







![T$SJ0V(%AZL[IW4L{PF4]YV](https://img.chnipc.com/11373/storage/875/product/20210823/1629679727491925.jpg)

重庆db真人旗舰集团机电有限公司是一家集产品研发、生产、经销、技术服务于一体的综合性企业,专业生产经营各类起重设备,是国内生产起重机械规格较全的企业之一,是国内较大的手拉葫芦、电动葫芦生产企业,产品质量责任由国内人民保险公司(PICC) 承保。TOHO品牌产品荣获国内优质产品称号。
- 标签:


